Online sinds 2006 – Vertrouwde ervaring
Meer dan 100.000 artikelen – Groot assortiment
Levering uit eigen voorraad – Snelle verzending
Gratis verzending bij €150+

Effect Kunststoflijst Art 70x70 cm roze museumglas

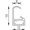
Slank halfrond kunststof profiel, 0,8 cm breed, museumglas met 70% UV-bescherming, ideaal voor wandmontage, hoogwaardige kunstwerken, moderne en klassieke ruimtes
Kleur 
Soort glas 
Formaat fotolijst 

261,30 €