Online sinds 2006 – Vertrouwde ervaring
Meer dan 100.000 artikelen – Groot assortiment
Levering uit eigen voorraad – Snelle verzending
Gratis verzending bij €150+

Effect kunststoflijst 68x93 cm roze met kunstglas

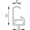
Effect Kunststoflijst, 68x93 cm, roze, halfrond profiel, 8 mm breed, kunstglas met antireflex en UV-bescherming, geschikt voor wandmontage en puzzel-inlijsting, licht en robuust, stijlvol voor scholen en openbare ruimtes
Kleur 
Lijstformaat 

92,80 €
incl. BTW , plus Verzending