Online sinds 2006 – Vertrouwde ervaring
Meer dan 100.000 artikelen – Groot assortiment
Levering uit eigen voorraad – Snelle verzending
Gratis verzending bij €120+

Effect kunststof lijst Art groen 40x50 cm museumglas

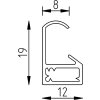
Effect fotolijst, smal halfrond profiel, uitzonderlijk vormvast dankzij het holkamerprofiel, kunststof lijst met museumglas
Kleur 
Soort glas 
Formaat fotolijst 

76,70 €
incl. 21% BTW , plus Verzending