Online sinds 2006 – Vertrouwde ervaring
Meer dan 100.000 artikelen – Groot assortiment
Levering uit eigen voorraad – Snelle verzending
Gratis verzending bij €150+

Effect Kunststof Fotolijst Art groen 15x20 cm Museumglas

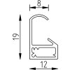
Effect Kunststof Fotolijst Art groen 15x20 cm, smal halfrond profiel, museumglas, vormvast holkamerprofiel, geschikt voor portret en landschap
Kleur 
Soort glas 
Formaat fotolijst 

25,45 €
incl. BTW , plus Verzending