Online sinds 2006 – Vertrouwde ervaring
Meer dan 100.000 artikelen – Groot assortiment
Levering uit eigen voorraad – Snelle verzending
Gratis verzending bij €150+

Effect Kunststoflijst Art alulike 25x60 cm Museumsglas

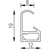
Effect Fotolijst Art alulike 25x60 cm, smal half rond profiel, vormvast, museumsglas, geschikt voor portret en landschap, eenvoudige hantering, extra laaddiepte voor passe-partout
Kleur 
Soort glas 
Formaat fotolijst 

70,20 €
incl. BTW , plus Verzending