Online sinds 2006 – Vertrouwde ervaring
Meer dan 100.000 artikelen – Groot assortiment
Levering uit eigen voorraad – Snelle verzending
Gratis verzending bij €120+

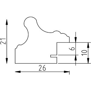
effect houten fotolijst Profil 44 zilver 30x45 cm kunstglas

Massief houten kader, barokstijl met foliebehandeling, oplopende buitenrand, bestand kunstglas met UV-scherm, gebruiksvriendelijk voor wandmontage
Kleur 
Soort glas 
Afmeting fotolijst 

65,25 €
incl. 21% BTW , plus Verzending