Online sinds 2006 – Vertrouwde ervaring
Meer dan 100.000 artikelen – Groot assortiment
Levering uit eigen voorraad – Snelle verzending
Gratis verzending bij €150+

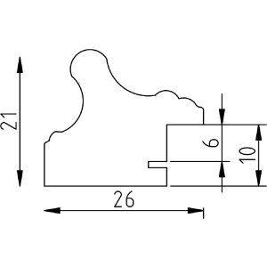
Effect Holzrahmen Profil 44 goud 61x91,5 cm

Massief houten fotolijst, barokstijl, foliebekleed leestprofiel, standaardglas, 61x91,5 cm, voor aan de muur, gouden kleur
Kleur 
Soort glas 
Afmeting fotolijst 

140,25 €
incl. BTW , plus Verzending