Online sinds 2006 – Vertrouwde ervaring
Meer dan 100.000 artikelen – Groot assortiment
Levering uit eigen voorraad – Snelle verzending
Gratis verzending bij €150+

Clayre & Eef Effect Kunststoffrahmen Art 29,7x42 cm roze Normalglas

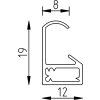
Effect Kunststoffrahmen Art, 29,7x42 cm, roze, Normalglas, dun profiel 0,8 cm, geschikt voor ophangen, A4-formaat, modern design, licht en sterk, ideaal voor foto's en kunstdrukken, praktische ophangconstructie, functioneel en esthetisch
Kleur 
Soort glas 
Formaat fotolijst 

17,60 €
incl. BTW , plus Verzending